33+ table entity relationship diagram
Using PostgreSQL techniques I performed data modeling and completed analysis on Pewlett Hackards employee database. The ERs under the following sections are specific to only.
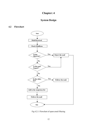
Spam Email Identification
The id can be used in perpetuity to refer to its related row.

. This chapter consists of the Entity Relationships in the Oracle Product Lifecycle Analytics MDS. Entity set with multi-valued attributes will require two tables in the relational model. The physical data model is the most granular level of entity-relationship diagrams and represents the process of adding information to the database.
Entity-Relationship Diagram views real world as entities. Operations used in Entity Relationship Diagram. Entity-Relationship Diagrams Most tables have have an id or key column that contains a number unique to that row within its table.
During this project I created. Sql_pewlett_hackard Analysis 1. Oracle entity relationship diagram Oracle entity relationship diagram A diagram showing the relationship of the entities in an Oracle database.
In the ERD the and o. An octagon is added inside the graphical object. In other words ER.
They are used extensively in. The id can be used in perpetuity to refer to its related row. Physical ER models show all table.
We will understand this conversion with the help of a. Right-click the Entity Type point to Type. Entity-Relationship Diagrams Most tables have have an id or key column that contains a number unique to that row within its table.
It was introduced in 1976 by PPChen and is known as ER. Select one of these options. Entity relationship diagrams or ER models in software engineering show the structure of and relationships between database objects.
ER Diagram stands for Entity Relationship Diagram also known as ERD is a diagram that displays the relationship of entities stored in a database. Strong Entity Set With Multi Valued Attributes.
Data Ed Slides Data Modeling Strategies Getting Your Data Ready Fo
Bruno Oberle Coreference Databases And Corpora For English And French Corefdb
Example Image Internet Sales Entity Relationship Diagram Relationship Diagram Diagram Relationship
Matthew 8 Commentary Precept Austin
Entity Relationship Diagram Erd What Is An Er Diagram Relationship Diagram Diagram Relationship
Deuteronomy 7 Commentary Precept Austin
Reference Notes On The Process Of How To Convert Entity Relationship Diagram Diagram To Relational Model Tables U Relationship Diagram Relational Model Mysql
Bdcc Free Full Text Optimizations For Computing Relatedness In Biomedical Heterogeneous Information Networks Semnet 2 0 Html
Convert Er Diagram To Relational Tables Example In 2022 Relationship Diagram Diagram Relational Database
Data Ed Slides Data Modeling Strategies Getting Your Data Ready Fo
Chapter 2 A Review Of The Literature
Acts 17 Commentary Precept Austin
Am 5 Deployment Planning Guide
Am 5 Deployment Planning Guide
Entity Relationship Diagram Erd Example Logical Erd Of An Online Photo Album This Er Model Example Is Brought To Database Design Relationship Diagram Erd
Matthew 8 Commentary Precept Austin
The Er Diagram Shows The Attributes Of Each Table In Conjunction With Many To Many Relationships Decomposed Int Dbms Management Information Systems Case Study